Dalla pasta di legno al brand identity: storia tecnica, produttiva e culturale della shopping bag in carta (1844–2025)
Un'analisi della traiettoria evolutiva della borsa da spesa, dalle origini meccaniche ottocentesche all'affermazione come oggetto di design comunicativo e indicatore di posizionamento di marca nel panorama retail contemporaneo.
Abstract
Questo articolo ricostruisce l'evoluzione storica della shopping bag in carta, dalla genesi tecnologica nella seconda metà dell'Ottocento fino alla sua affermazione come oggetto di design e strumento di comunicazione di marca nel panorama retail del XXI secolo. Attraverso l'analisi dei principali brevetti che ne hanno determinato la forma funzionale — dalle macchine di Wolle (1852) e Knight (1870) al sistema di manigliatura di Deubner (1926), dalle innovazioni strutturali di Stilwell e Stark all'introduzione della produzione automatizzata (Steen, 1936) — e attraverso lo studio dei casi aziendali più significativi (Bloomingdale's, Gucci, Harrods, Tiffany & Co.), si dimostra come la shopping bag abbia progressivamente ampliato il proprio perimetro semantico, smettendo di essere un puro strumento di trasporto per diventare un medium di brand identity e, in alcune declinazioni, un oggetto collezionabile di valore culturale riconosciuto. Sullo sfondo, l'ascesa e il progressivo declino normativo del sacchetto in plastica costituisce il contesto macroeconomico entro cui interpretare il rinnovato interesse verso la borsa in carta come prodotto differenziato e sostenibile.
1. Il presupposto tecnologico: la nascita dell'industria cartaria
La storia della shopping bag in carta non comincia con il sacchetto, ma con la carta. Il 1844 rappresenta la data fondativa: il tessitore tedesco Friedrich Gottlob Keller brevetta in quell'anno il processo di defibrazione meccanica del legno, ottenendo una pasta cellulosa a costi notevolmente inferiori rispetto alle tecniche precedenti, basate su stracci e fibre vegetali di difficile reperibilità. L'invenzione di Keller ha una ricaduta immediata sull'intera filiera produttiva cartaria: in pochi anni la carta cessa di essere un materiale scarso e costoso per diventare un bene di largo consumo. Questa democratizzazione del supporto cartaceo apre la strada alla sua adozione nel settore del packaging e dell'imballaggio commerciale.
.jpg)
Il passaggio dalla carta come materiale alla carta come contenitore è opera di quattro inventori statunitensi, la cui sequenza cronologica definisce, passo per passo, la morfologia del sacchetto moderno: Francis Wolle (1817–1893), Margaret Knight (1838–1914), Charles Stilwell (1845–1919) e Walter H. Deubner.
1.1 Francis Wolle e la prima macchina per sacchetti (1852)
Nel 1852, il pastore e inventore Francis Wolle brevetta la prima macchina capace di produrre sacchetti di carta in serie. Si tratta di sacchetti con il fondo a V, ancora lontani dalla forma che conosciamo, ma sufficientemente capaci e resistenti per essere impiegati nella distribuzione commerciale. La rilevanza dell'invenzione di Wolle non risiede tanto nella qualità del prodotto quanto nel principio della meccanizzazione: per la prima volta la produzione di sacchetti di carta non è un'operazione artigianale ma un processo industriale riproducibile in scala.
Nel 1869, Wolle fonda insieme al fratello e ad altri produttori la Union Paper Bag Machine Company, che diventerà uno dei poli produttivi di riferimento per l'intera industria cartaria americana. Lo stabilimento aperto a Savannah nel 1935 — anni dopo la morte dell'inventore — sarà ancora in funzione a lungo, testimoniando la solidità del modello industriale avviato.
1.2 Margaret Knighte la rivoluzione del fondo piatto (1870–1873)
Il contributo più significativo all'evoluzione morfologica del sacchetto viene, nel 1870, da Margaret Knight, operaia di una cartiera del Massachusetts che progetta una macchina in grado di tagliare, piegare e incollare automaticamente sacchetti dal fondo piatto — una forma che consente al sacchetto di stare in piedi da solo e di avere una capacità di carico notevolmente superiore rispetto al precedente fondo a V.

La vicenda brevettuale di Knight è uno degli episodi più citati nella storia delle donne nell'invenzione industriale. Mentre Knight stava ancora costruendo il prototipo metallico della macchina — necessario per la presentazione ufficiale del brevetto — Charles Annan, un operaio entrato in contatto con i disegni tecnici, tentò di registrare l'invenzione a proprio nome. Knight aprì un contenzioso legale che si concluse nel 1873 con il riconoscimento del brevetto a suo nome, dopo che la donna aveva dimostrato in aula di essere l'inventrice dell'apparecchio attraverso la presentazione dei disegni preparatori. Il brevetto Knight definisce il fondamento morfologico della shopping bag moderna: il fondo quadrato e piatto è ancora oggi la forma standard.
1.3 Charles Stilwell e il sacchetto «Self-Opening» (1889)
L'evoluzione prosegue con Charles Stilwell che nel 1889 brevetta la macchina per la produzione del Self-Opening Sack (SOS), sacchetti dotati di pieghe laterali a soffietto che ne facilitano l'apertura, la piegatura e l'immagazzinamento. La denominazione commerciale chiarisce l'innovazione funzionale: un colpo secco del polso apre il sacchetto, senza necessità di manipolazione manuale dell'apertura. Stilwell introduce anche i primi sistemi di manico sperimentale — corde passate attraverso coppie di rondelle laterali, o spaghi incollati tra fasce di cartone — inaugurando quella che diventerà la dimensione più caratterizzante della shopping bag: la possibilità di trasportarla appesa alla mano.

2. La nascita della shopping bag moderna: il sistema di manigliatura
L'elemento che trasforma definitivamente il sacchetto di carta in shopping bag è la maniglia. Prima dell'introduzione di un sistema di impugnatura affidabile e pratico, il sacchetto doveva essere tenuto tra le braccia o sorretto dal basso: una modalità scomoda che limitava significativamente la capacità di trasporto. Il passaggio dalla tenuta frontale alla tenuta verticale tramite manico rappresenta un salto funzionale paragonabile a quello tra il sacco e la borsa.
2.1 Walter H. Deubner e il brevetto fondativo (1926)
È Walter H. Deubner, gestore di una piccola drogheria a Saint Paul nel Minnesota, a risolvere definitivamente il problema. Osservando quotidianamente i propri clienti, Deubner si rende conto che la quantità di merce trasportabile con facilità in uscita dal negozio è uno dei principali fattori limitanti per i volumi di acquisto. Dopo quattro anni di tentativi, nel 1926 brevetta un sacchetto prefabbricato dotato di manici in corda rinforzati internamente, capace di sostenere un carico da 5 a 35 kg. Lo chiama «Deubner shopping bag».
.jpg)
Il successo commerciale è immediato: tre anni dopo il brevetto, Deubner produce e vende oltre un milione di borse all'anno. L'anno 1929 può essere considerato, come nota la tesi di Seminara, «l'anno zero della storia del sacchetto di carta», il momento in cui si cristallizza un modello funzionale ed economico destinato a reggere per i decenni successivi. Le innovazioni che seguiranno non modificheranno la struttura di base ma la raffineranno in termini di resistenza, velocità produttiva e capacità di personalizzazione.
2.2 Le innovazioni post-Deubner: rinforzi, automazione e chiusure (1930–1962)
Gli anni Trenta e Quaranta vedono una serie di brevetti che completano il profilo tecnico della shopping bag manuale. Nel 1930, lo stesso Deubner introduce una maniglia in cartone applicata come alternativa a quella in corda, più robusta e più veloce da installare. Nel 1934, Robert C. Groh brevetta un sistema di maniglie in corda a doppia sezione: invece di un unico pezzo continuo, si usano due segmenti separati, fissati al bordo superiore del sacchetto tramite nodi — tecnica che è ancora oggi il metodo standard per la manigliatura manuale.
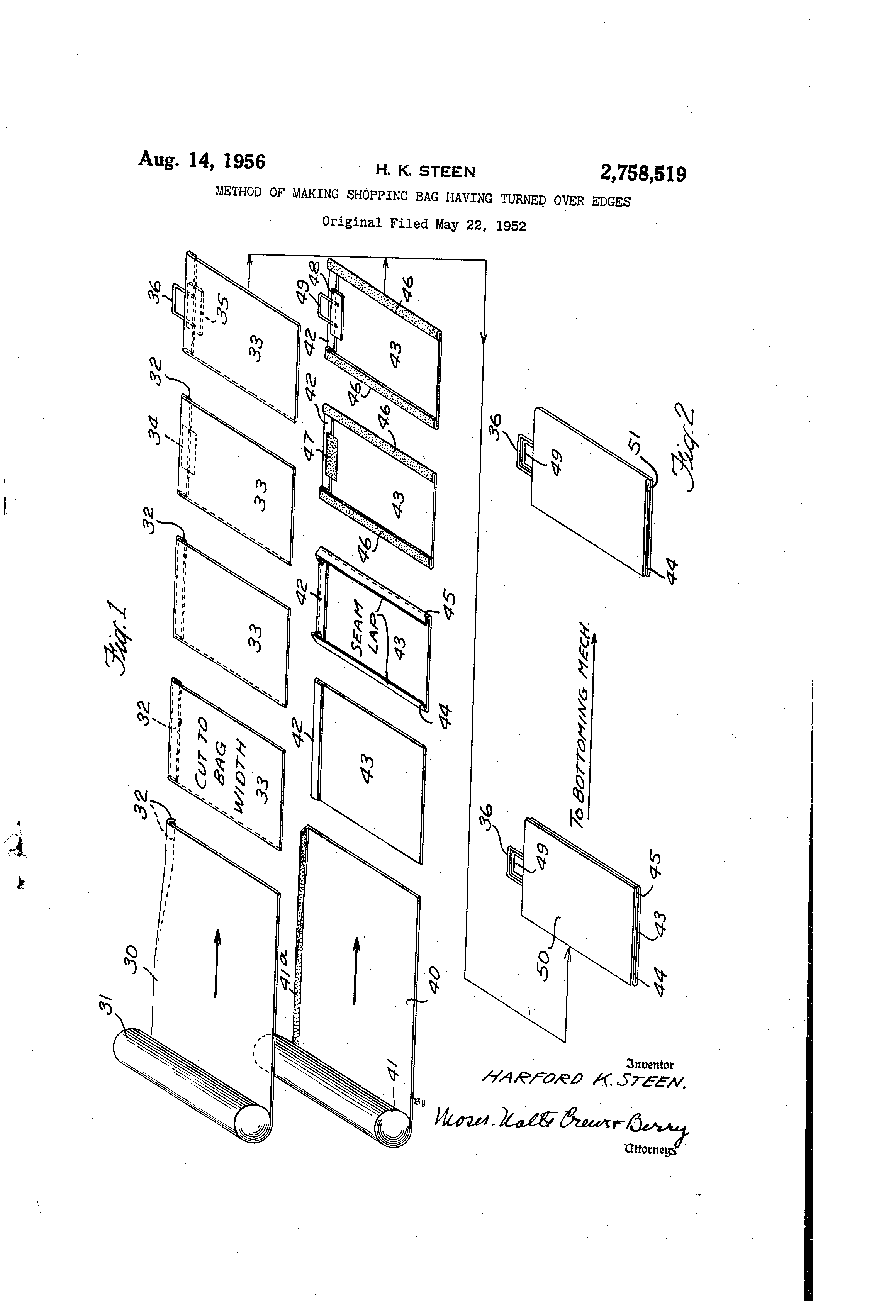
Il 1936 segna una svolta produttiva decisiva: Harford K. Steen brevetta la prima macchina per la produzione completamente automatizzata dei sacchetti in carta. Nasce in questo momento la distinzione operativa tra sacchetto manuale e sacchetto automatico, una biforcazione che avrà conseguenze enormi sull'architettura del mercato.

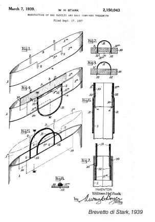
Nel 1939, William H. Stark introduce i primi rinforzi strutturali: un risvolto nella parte superiore del sacchetto che ne aumenta la resistenza alle forze di trazione verticale — un accorgimento che si ritrova ancora nella produzione artigianale contemporanea. Nel 1941, Howard A. Wolf introduce per la prima volta un elemento di chiusura: un lembo di carta supplementare che sigilla il contenuto del sacchetto. L'introduzione di una chiusura non è solo una risposta tecnica a un'esigenza funzionale, ma il segnale di un cambiamento comportamentale — gli utenti hanno cominciato a riutilizzare il sacchetto, o a usarlo per contenere oggetti di valore. Infine, nel 1962, Steen completa il sistema con l'introduzione dei rinforzi inferiori, che uniti a quelli superiori rendono il sacchetto adatto a pesi sempre maggiori e a un uso prolungato nel tempo.
3. La shopping bag come strumento di comunicazione di marca
Le innovazioni tecniche descritte definiscono il contenitore. Ma la trasformazione più radicale nella storia della shopping bag non avviene negli impianti produttivi: avviene nei reparti marketing dei grandi magazzini americani, a partire dagli anni Venti del Novecento.
3.1 Bloomingdale's: la nascita del packaging come brand identity (1922–1973)

Nel 1922, Bloomingdale's — la catena di grandi magazzini newyorkesi che molti considerano pioniere delle principali innovazioni nel retail americano — stampa sulle sue piccole borse marroni un messaggio di auguri per ringraziare i clienti. Non si tratta ancora di arte pubblicitaria sofisticata, ma è, «il primo atto di consapevolezza del fatto che le borse in cui veniva trasportata la merce venduta potevano essere utilizzate per comunicare qualcosa riguardo al negozio stesso». Il principio è semplice:
ogni cliente che esce dal negozio porta con sé un messaggio del negozio, trasformandosi in vettore involontario di comunicazione.
Nel 1954, Bloomingdale's adotta la forma moderna della shopping bag con manici ripiegati. Il design iniziale — una rosa, una mano guantata con ombrello e il logo del negozio in grafia classica — viene aggiornato ogni anno nel colore e con varianti stagionali. Nel 1961 arriva la svolta creativa: per la fiera commerciale «Esprit de France», Bloomingdale's commissiona all'artista Jonah Kiningstein una borsa speciale. L'artista sceglie di riprodurre antichi tarocchi francesi in nero, rosso e bianco, omettendo deliberatamente il nome del negozio. La borsa ha un successo straordinario e segna, «la nascita delle shopping bag da collezione».
L'apice di questo percorso è raggiunto nel 1973, quando il designer Massimo Vignelli — autore anche del font istituzionale di Bloomingdale's — crea la celebre «Big Brown Bag», declinata nelle versioni Little, Medium e Big in risposta a esigenze funzionali differenti (la versione grande nasce per contenere i grandi cuscini in voga all'epoca, quella piccola per cosmetici e accessori). La Brown Bag diventa un'icona del retail americano: il museo Cooper-Hewitt dello Smithsonian Institution esporrà esemplari della collezione di shopping bag di Bloomingdale's, riconoscendo formalmente il valore culturale di questi oggetti.

Negli anni Ottanta, sotto la direzione creativa di John Jay(direttore creativo dal 1979 al 1993), Bloomingdale's spinge ulteriormente il concetto commissionando fino a quattro o cinque borse all'anno ad artisti, architetti e designer di fama internazionale — tra cui Michael Graves, il fashion illustrator Antonio Lopes e Ettore Sottsass. «Volevo che ogni borsa rappresentasse un periodo», ricorda Jay. «Facemmo borse sullo sviluppo del postmodernismo, sull'influsso del movimento artistico del Lower East Side, sul movimento del Memphis design in Italia». Il compenso era di soli 500 dollari, ma la sfida creativa e la visibilità erano straordinarie — la presidente Carter fu fotografato mentre saliva sull'elicottero presidenziale con una borsa di Bloomingdale's in mano.
3.2 Gli artisti e la mostra del Cooper-Hewitt (1969–1978)
Parallelamente all'esperienza di Bloomingdale's, gli anni Sessanta e Settanta vedono un coinvolgimento crescente del mondo artistico. Nel 1969, Andy Warhol realizza una shopping bag che applica al medium la sua poetica della cultura di massa. 
Roy Lichtenstein fa lo stesso, sancendo la legittimità artistica del sacchetto come supporto espressivo. Nel 1978, lo Smithsonian's Cooper-Hewitt Museum di New York ospita una mostra dedicata a oltre 125 shopping bag, esposte come opere d'arte. Il curatore Richard Olivier nota come la borsa con manici applicati meccanicamente esista in realtà solo dal 1933: in meno di mezzo secolo è diventata un oggetto degno di museo.
3.3 Gucci, Harrods, Tiffany: tre paradigmi di brand identity attraverso il packaging
I casi aziendali del XXI secolo mostrano la maturità concettuale raggiunta dalla shopping bag come strumento di comunicazione. Il sacchetto Gucci lanciato nell'agosto 2010 — in carta completamente riciclata con texture in rilievo che evoca le pelli degli accessori del brand, impreziosita da stampe a caldo dorate — è descritto dalla Direttore Creativa Frida Giannini come conferma che «niente viene sacrificato in termini di creatività scegliendo materiali che rispettano l'ambiente. Il nuovo packaging rimanda perfettamente ai valori del marchio e alla sua tradizione». La borsa non è un accessorio neutro: è il prolungamento visivo e tattile del prodotto che contiene.

Il caso Harrods è paradigmatico dell'evoluzione verso il merchandising: il grande magazzino londinese ha trasformato il suo sacchettino verde — diventato nel tempo un'icona riconoscibile in tutta Londra — prima in una borsa in PVC riutilizzabile, poi in una linea di articoli venduti autonomamente, indipendentemente dall'acquisto di altri prodotti in negozio. Il mercato secondario su eBay conta migliaia di annunci di compravendita, a dimostrazione che la shopping bag di Harrods è ormai un prodotto autonomo con il proprio valore di mercato.

Tiffany & Co. rappresenta invece il caso limite: il celebre sacchetto azzurro — esistente da oltre quarant'anni nel momento della stesura della tesi — è diventato così identitario da far nascere, nel 2009, la linea «Shopping Bag Charm», una serie di gioielli a forma di sacchetto azzurro.

L'oggetto di carta ha generato un prodotto in metallo prezioso. La borsa si è smaterializzata conservando solo la forma, e quella forma vale un gioiello. Fenomeno analogo, seppur meno formalizzato, si osserva in Corea del Sud, dove un mercato informale rivende shopping bag dei grandi marchi del lusso — Cartier, Prada, Louis Vuitton — a circa 23 dollari l'una. La carta del sacchetto, «più solida e resistente rispetto alle borse normali», diventa essa stessa merce.
4. L'intrusione della plastica e il ritorno alla carta (1965–2011)
La storia della shopping bag in carta non può essere raccontata senza considerare il protagonista che ha minacciato di soppiantarla definitivamente: il sacchetto in plastica.
Nel 1965, lo svedese Sten Gustaf Thulin brevetta il primo sacchetto in polietilene ad alta densità, prodotto da un unico pezzo piegato, saldato e fustellato.

Il brevetto viene acquisito dalla società Celloplast e successivamente adottato su scala globale da Mobil Oil. Il vantaggio competitivo del sacchetto in plastica è schiacciante: costo unitario bassissimo, impermeabilità, leggerezza, riutilizzabilità informale (può essere piegato e messo in tasca), idoneità al trasporto di merce bagnata. Già nel 1966, un anno dopo l'invenzione, i grandi supermercati iniziano ad adottarlo; negli anni Settanta supera la carta; negli anni Ottanta raggiunge l'80% del totale dei sacchetti in circolazione nel mondo.
La reazione ambientalista arriva negli anni Ottanta, quando la coscienza ecologica si diffonde nelle culture occidentali. Il sacchetto in plastica è un derivato del petrolio, non è biodegradabile, il suo degrado costituisce un rischio per gli ecosistemi acquatici. In Italia, il 1988 vede l'introduzione della cosiddetta «legge delle cento lire», una tassa che prevedeva il pagamento di cento lire per ogni sacchetto di plastica acquistato dai negozianti — un tentativo di incentivare il ritorno alla carta. Nel 1993 la legge viene abolita, i sacchetti in plastica riprendono quota. Ma il processo di marginalizzazione normativa della plastica monouso è ormai avviato a livello globale.
A partire dal 2002 la sequenza di divieti è incalzante: Bangladesh (2002), Irlanda (2002, con tassazione), Rwanda (2005), San Francisco — prima città americana (2007), Cina, Israele, Canada, India, Taiwan, Singapore, Sud Africa, Tanzania, Kenya (2008), Italia (2011). Dal 2011 la legislazione italiana vieta la produzione di sacchetti non biodegradabili. La plastica monouso è fuori dal mercato, e la carta torna — questa volta con una reputazione ecologica che diventa un ulteriore argomento di posizionamento per i produttori di qualità.
5. La shopping bag come oggetto da progettare: il presente
La shopping bag non è oggi, e non può più essere pensata come un mero contenitore. È un oggetto da progettare, carico di significati espliciti e impliciti, capace di agire su tre livelli distinti: come elemento distintivo (biglietto da visita del negozio), come oggetto in evoluzione funzionale (da usa-e-getta a riutilizzabile, fino alla possibile declinazione come accessorio di moda), come strumento di comunicazione per nuovi mercati (merchandising derivato, oggetti da collezione, gioielli ispirati alla forma).
Questa complessità semantica apre, per i produttori artigianali, un orizzonte competitivo non basato sul prezzo — dove la produzione di massa mantengono un vantaggio strutturale insuperabile — ma sul design, sulla qualità materica e sulla capacità di offrire soluzioni personalizzate che incarnino l'identità del cliente retail. La storia della shopping bag dimostra che, ogni volta che un attore del mercato ha saputo andare oltre la funzione pura per investire sul significato dell'oggetto, ha creato valore e mercato che la concorrenza non è riuscita a erodere.
6. Dal 2011 ad oggi: normativa, mercato e nuove frontiere del design
Il 2011 non ha rappresentato un punto di arrivo ma il punto di avvio di una nuova fase nella storia della shopping bag in carta. Il divieto italiano dei sacchetti non biodegradabili si inseriva in un percorso normativo europeo destinato ad accelerare significativamente nel decennio successivo, ridefinendo le condizioni strutturali entro cui operano produttori, retailer e designer del packaging.
6.1 Il quadro normativo europeo: dalla Direttiva 2015/720 al Regolamento PPWR 2025
Nel 2015, l’Unione Europea adotta la Direttiva 2015/720, recepita in Italia con decreto legislativo nel novembre 2016. La norma si concentra sulla riduzione dei sacchetti di plastica leggeri e ultraleggeri, fissando obiettivi di riduzione del consumo di sacchetti non riciclabili fino a 90 unità pro capite annue entro il 2019 e 40 entro il 2025. Contestualmente vieta la distribuzione gratuita di sacchetti in plastica non biodegradabile, introducendo per la prima volta un principio di “chi inquina paga” direttamente al momento dell’acquisto al dettaglio.
Il passo più radicale arriva con la Direttiva SUP (Single Use Plastics) 2019/904, recepita in Italia con il Decreto Legislativo n. 196/2021, entrato in vigore il 14 gennaio 2022. Dal 3 luglio 2021, l’immissione sul mercato UE di una serie di prodotti in plastica monouso è definitivamente vietata: posate, piatti, cannucce, agitatori per bevande, aste per palloncini, contenitori in polistirene espanso. La plastica monouso cessa di essere un problema ambientale da gestire e diventa un divieto di produzione. Per la borsa di carta, questo rappresenta la più favorevole delle condizioni macroeconomiche: il suo principale sostituto scompare per legge dai circuiti distributivi di massa.
Il più recente e organico intervento normativo è il Regolamento UE 2025/40 (PPWR — Packaging and Packaging Waste Regulation), entrato in vigore l’11 febbraio 2025 e applicabile integralmente a partire dal 12 agosto 2026. Il PPWR sostituisce definitivamente la storica Direttiva 94/62/CE del 1994 e introduce obblighi direttamente vincolanti per tutti gli Stati membri, senza necessità di recepimento nazionale. Tra i punti chiave: obbligo di riciclabilità per tutto il packaging immesso sul mercato UE; obiettivi di riduzione dei rifiuti da imballaggio del 5% entro il 2030, 10% entro il 2035 e 15% entro il 2040 rispetto ai livelli del 2018; target di contenuto minimo riciclato per gli imballaggi in plastica (35% entro il 2030, 65% entro il 2040); divieto dal 2030 di alcuni formati in plastica monouso anche nel food service. Per il settore carta e cartone — che nel 2021 rappresentava già il 40% dei rifiuti da imballaggio generati nell’UE — il regolamento fissa un obiettivo di riciclo dell’85% entro il 2025. La carta certificata FSC (Forest Stewardship Council) e PEFC diventa non solo una scelta ecologica ma una condizione normativa progressivamente obbligata.
6.2 La crescita del mercato del packaging premium e del lusso
Parallelamente all’irrigidimento normativo anti-plastica, il mercato del packaging di lusso ha registrato nel decennio 2014–2024 una crescita costante e strutturale. Secondo le rilevazioni di Future Market Insights, il comparto globale del packaging rigido di lusso — che include scatole, shopper di alta gamma e imballaggi premium — ha raggiunto una valorizzazione di 4,27 miliardi di dollari nel 2024, con proiezioni di crescita fino a 6,2 miliardi entro il 2034 (CAGR del 3,8%). All’interno di questo mercato, i prodotti in carta e cartone dominano con una quota stimata del 66,7% nel 2024, con un tasso di crescita previsto del 4,1% annuo fino al 2034 — significativamente superiore alla media del settore.
Questa traiettoria di crescita è alimentata da una convergenza di fattori: la pressione normativa che spinge i retailer a sostituire la plastica con alternative in carta; la crescente domanda di “esperienza di unboxing” da parte dei consumatori dei mercati premium e lusso, che hanno trasformato il packaging in componente esplicita del valore del prodotto; l’affermarsi della sostenibilità come leva di brand reputation, che rende la scelta di materiali certificati e di packaging riutilizzabile un argomento di comunicazione commerciale e non solo un adempimento normativo. Un sondaggio del 2024 condotto sui dirigenti del settore lusso individua in artigianato, autenticità ed esperienza cliente i tre pilastri della resilienza competitiva dei brand premium — tutti e tre direttamente traducibili in qualità del packaging.
6.3 Tendenze del design contemporaneo nella shopping bag di qualità
Sul piano del design, il decennio 2015–2025 ha visto consolidarsi nella shopping bag artigianale di qualità alcune tendenze direttamente rilevanti per la progettazione: la nobilitazione superficiale — laminatura a caldo, serigrafia, embossing, vernici UV e trattamenti soft-touch — si è affermata come standard produttivo nel segmento premium, con la funzione di amplificare la percezione tattile e visiva della qualità materica della borsa; la stampa digitale ad alta definizione ha reso economicamente accessibili le piccole tirature altamente personalizzate (anche al di sotto delle 100 unità), abbassando la soglia di accesso alla personalizzazione professionale per i piccoli esercenti retail; l’introduzione sistematica delle certificazioni di filiera (FSC, PEFC) ha trasformato la scelta della carta in un atto di comunicazione verso il consumatore finale, con impatto diretto sulla percezione di brand responsibility del negozio.
Sul piano formale, l’osservazione del mercato contemporaneo rivela una polarizzazione estetica tra minimalismo e massimalismo: i brand del lusso consolidato tendono a privilegiare design essenziali — colori unici, tipografia curata, superfici opache — che mettono in risalto il prodotto senza distogliere l’attenzione; i brand più giovani e i negozi indipendenti adottano invece approcci visivi più audaci, con grafiche complesse, colori vivaci e texture in rilievo che dichiarano esplicitamente la propria differenza rispetto alla produzione di massa. Entrambe le direzioni condividono il principio fondamentale che la borsa di carta non è più un costo di produzione da minimizzare ma un investimento di comunicazione da valorizzare.
Il Regolamento PPWR 2025 introduce infine un’ulteriore dimensione progettuale: l’obbligo di riciclabilità impone ai designer di considerare il fine vita del packaging fin dalla fase di ideazione, selezionando materiali separabili, evitando l’uso di colle e inchiostri non compatibili con il processo di riciclo della carta, e preferendo laminazioni removibili o assenti. Si tratta di un vincolo che, paradossalmente, spinge verso una maggiore purezza materica del prodotto — con effetti positivi sulla percepibilità della qualità — e che penalizza le produzioni di bassa qualità più di quanto non penalizzi quelle artigianali, dove l’integrità dei materiali è già una prassi consolidata.
7. Conclusioni
L'evoluzione storica della shopping bag restituisce, in forma concentrata, la traiettoria del design degli oggetti quotidiani nel capitalismo industriale: dalla soluzione tecnica alla forma, dalla forma al significato, dal significato al valore culturale. La borsa da spesa è nata come risposta a un problema pratico di trasporto. Si è trasformata in mezzo di comunicazione commerciale. È diventata oggetto d'arte e di collezione. Ha resistito alla concorrenza della plastica attraverso la sua dimensione qualitativa e, infine, ha ritrovato rilevanza strutturale grazie a una normativa ambientale che ha riportato la carta al centro del mercato del packaging.
Ogni fase di questa evoluzione è leggibile come risposta alle tensioni del contesto: tecnologico, economico, culturale, normativo. La shopping bag è, in questo senso, un caso di studio esemplare per chi si interessa di storia del design industriale: un oggetto apparentemente banale che porta scritto su di sé, layer dopo layer, quasi due secoli di storia delle culture materiali del consumo.
Riferimenti
Keller, F.G. (1844). Brevetto processo di defibrazione meccanica del legno. Archivi brevetti europei.
Wolle, F. (1852). U.S. Patent No. 9.147 — Paper Bag Machine. United States Patent Office.
Knight, M.E. (1873). U.S. Patent No. 116.842 — Paper Bag Machine. United States Patent Office.
Stilwell, C. (1889). U.S. Patent — Self-Opening Sack. United States Patent Office.
Deubner, W.H. (1926). U.S. Patent No. 1.096.833 — Shopping Bag. United States Patent Office.
Groh, R.C. (1934). Brevetto sistema maniglie in corda. United States Patent Office.
Steen, H.K. (1936). Brevetto produzione automatizzata sacchetti. United Kingdom Patent Office.
Stark, W.H. (1939). Brevetto rinforzo superiore sacchetti. United States Patent Office.
Wolf, H.A. (1941). Brevetto sistema di chiusura sacchetti. United States Patent Office.
Steen, H.K. (1962). Brevetto rinforzo inferiore sacchetti. United Kingdom Patent Office.
Thulin, S.G. (1965). Brevetto sacchetto in polietilene. Brevetto svedese.
Olivier, R. (1978). Catalogo mostra «Il design per gli acquisti». Cooper-Hewitt National Design Museum, Smithsonian Institution, New York.
Pine, B.J. II (1993). Mass Customization: The New Frontier in Business Competition. Harvard Business School Press.
Seminara, M. (2011). Il Design delle Shopping Bag. Tesi di Laurea Magistrale in Prodotto Industriale. Politecnico di Milano, relatore Alessandro Deserti.
Unione Europea (2015). Direttiva 2015/720/UE del Parlamento Europeo e del Consiglio, che modifica la Direttiva 94/62/CE per quanto riguarda la riduzione dell’utilizzo di borse di plastica in materiale ultraleggero. Gazzetta Ufficiale dell’Unione Europea, 29 aprile 2015.
Unione Europea (2019). Direttiva (UE) 2019/904 del Parlamento Europeo e del Consiglio, sulla riduzione dell’incidenza di determinati prodotti di plastica sull’ambiente (Direttiva SUP — Single Use Plastics). Gazzetta Ufficiale dell’Unione Europea, 12 giugno 2019.
Repubblica Italiana (2021). Decreto Legislativo n. 196/2021, recepimento della Direttiva SUP 2019/904/UE. Gazzetta Ufficiale della Repubblica Italiana, 14 gennaio 2022.
Unione Europea (2025). Regolamento (UE) 2025/40 del Parlamento Europeo e del Consiglio, sugli imballaggi e i rifiuti di imballaggio (PPWR — Packaging and Packaging Waste Regulation). Gazzetta Ufficiale dell’Unione Europea, 22 gennaio 2025. In vigore dall’11 febbraio 2025, applicabile dal 12 agosto 2026.
Future Market Insights (2024). Luxury Rigid Packaging Market Global Analysis 2024–2034. Future Market Insights, Report FMI-LRP-2024.
Shopify (2024). Le tendenze del retail di lusso. Shopify Italia Research Report, ottobre 2024.
Giannini, F. (2010). Comunicato stampa lancio packaging Gucci. Gucci Communications, agosto 2010.
Davidson, G. (2010). Cooper-Hewitt Museum shopping bag collection notes. Smithsonian Institution Archives
